内蒙古库布其氢肥科技股权转让 首选方或脱离持股
10月22日,山东产权交易中心发布内蒙古库布其氢肥科技有限公司50%股权转让信息,转让底价0.0001万元,保证金1万元,挂牌起止日期:2025-10-22至2025-11-18,转让方为国家电投集团内蒙古能源有限公司。
该公司成立于2022年,注册资本10万元,经营范围涉及:肥料生产;肥料销售;技术服务、技术开发、技术咨询、技术交流、技术转让、技术推广;农业专业及辅助性活动;土壤与肥料的复混加工;生物有机肥料研发;复合微生物肥料研发;工程和技术研究和试验发展;化肥销售;化工产品生产(不含许可类化工产品)。
股权结构显示,该公司由亿利洁能股份有限公司持股50%、国家电投集团内蒙古能源有限公司持股50%。这就意味着,如本次转让顺利进行,国家电投集团内蒙古能源有限公司将不再持有该公司股权。
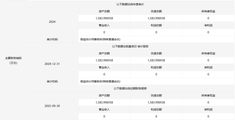
该公司主要财务指标如下↓
图源:山东产权交易中心
截至目前,该公司净资产为0。

声明:如有信息侵犯了您的权益,请告知,本站将立刻删除。



